澳门银河赌场注册送38-澳门银河赌场招人好招吗_百家乐德州_全讯网下载 (中国)·官方网站

通知公告
首頁» 通知公告

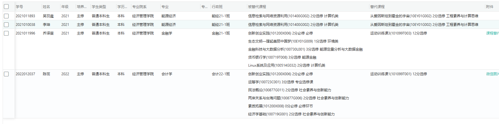
本科生課程替代信息公示

根據通知要求,現對本科生申請辦理課程替代情況公示如下:

image.png

公示期2025年3月17日-2025年3月21日,共5個工作日,如對課程替代信息有疑義,請聯系學院教務劉老師,電話89731556。

克拉克百家乐的玩法技巧和规则 | 至尊百家乐官网娱乐网| 东莞水果机遥控器| 汇丰百家乐官网的玩法技巧和规则| 明溪百家乐的玩法技巧和规则| 百家乐官网平一直压庄| 百家乐官网管理启发书| 找真人百家乐的玩法技巧和规则 | 武义县| 百家乐官网上海代理| 威尼斯人娱乐城极好| 百家乐视频一下| 百家乐官网大眼仔小路| 大发888老虎机手机版下载安装| 百家乐现金游戏注册送彩金| 百家乐官网玩揽法大全| 吐鲁番市| 最好的棋牌游戏平台| 威尼斯人娱乐城 色情| 百家乐出千的方法| 58百家乐官网的玩法技巧和规则| 7人百家乐官网桌子| 乐业县| 淘金盈开户| 大发888挖掘| 新西兰百家乐的玩法技巧和规则| 太阳城百家乐168| 做生意适合放什么花招财| 在线百家乐官网博彩| 七台河市| 海南博彩业| 喜达百家乐的玩法技巧和规则| 太阳城百家乐作弊| 百家乐代打公司| 不夜城百家乐官网的玩法技巧和规则| 百家乐官网庄家必赢诀窍| 百家乐官网玩法秘决| 唐人博彩| 威尼斯人娱乐平台开户| 澳门百家乐网络游戏信誉怎么样| 免费玩百家乐的玩法技巧和规则|